Компания Apple получила патент на осуществление платежей со смартфона. В отличие от других подобных систем, в этой для дополнительной защиты задействована технология, схожая с Secure Enclave в чипсете A7.
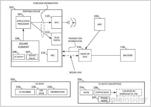
Как сообщает iguides.ru, в документе описаны два способа взаимодействия смартфона и платежного терминала. В первом случае iPhone отправляет сигнал системе, обрабатывающей платежи, через NFC (несмотря на то, что Apple не применяет эту технологию ни в одном из своих устройств), iBeacon или другой модуль, использующий передачу данных по Bluetooth. Во втором случае задействован сервер платежной системы.
Дополнительная степень защиты реализована через технологию, аналогичную той, что Apple применяет в Touch ID. На смартфоне генерируется псевдоним, который может быть распознан платежным терминалом. При поднесении смартфона к терминалу сервер платежной системы передается псевдоним и криптографический код. Сервер расшифровывает этот код, смотрит, соответствует ли он псевдониму и обрабатывает платеж, причем не получает сами платежные данные.

Такая система позволяет хранить данные банковских карт изолированно в памяти устройства и при осуществлении платежей не предоставляет их даже платежным терминалам.
Пока неясно, каким образом Apple собирается использовать полученный патент: добавит описанную технологию в новые смартфоны и планшеты, выпустит специальные устройства для осуществления безопасных платежей или прибережет его на будущее.
Читайте наш канал в
Telegram
:
узнавайте о главных новостях дня первыми.